Skip to main content

605.858.0717 

$59,000
U/C CONTINGENCY
  •  - Image# 1
  •  - Image# 2
  •  - Image# 1
  •  - Image# 2
Specification
TypeCommercial
MLS #175642
Publication dateDec 27, 2025
Lot size0.63 acres
SubdivisionOTHER
Property ID: 12792
Updated: Sep 11, 2025
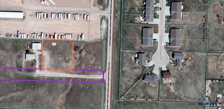
General commercial lot near the corner of Radar Hill Rd and Lefler Lane offering easy access to I-90 and Hwy 44. City water and electric to lot. City sewer is located on the East side of Radar Hill Rd. Another .63 acre lot is also available directly to the East of this lot and can also be purchased. MLS # 172411 priced at $49,000.
322 OTHER, Box Elder, SD, 57719, United States
General commercial lot near the corner of Radar Hill Rd and Lefler Lane offering easy access to I-90 and Hwy 44. City water and electric to lot. City sewer is located on the East side of Radar Hill Rd… Read more
Inquire Now

Mortgage Calculator

$
%
$
%